打過三劑疫苗 美防長新冠“中招”分享到:
香港新闻网1月3日電 當地時間1月2日,美國國防部長奧斯汀表示,自己出現輕微症狀後進行新冠病毒檢測,檢測結果呈陽性。
(美國防長奧斯汀 資料圖片)
美国疫情形势一直严峻,军政界多次出现有人新冠病毒检测结果呈阳性的情况。多名医学专家警告称,2022年的第一个月,新冠病毒的快速传播恐怕将在全美范围内刮起一场“病毒风暴”。歐美國家已經成為疫情重灾区。 根據世界衛生組的統計數據,截止到北京時間1月3日凌晨,確診數超過千萬的國家包括: 美國(54,850,527)、印度(34,889,132)、巴西(22,291,839)、英國(13,100,458)、俄羅斯(10,537,966)、法國(10,191,826)。
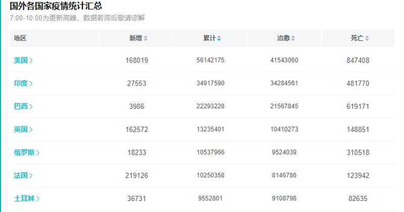
世界疫情趋势图 圖源百度網 根據世界衛生組的統計數據,截止到北京時間1月3日凌晨,確診數超過千萬的國家包括: 美國(56,142,175)、印度(34,917,590)、巴西(22,293,228)、英國(13,235,401)、俄羅斯(10,537,966)、法國(10,250,358)。 土耳其以9,552,801例確診排名第七。
新冠確診數排名前七位的國家 圖源百度網 相關新聞
|
視頻更 多
28支龍獅隊齊集錦田爭奪“獅王”殊榮 龍獅隊員:十年後再來表演舞獅爭霸!
周潤發率“百歲”港星團跑馬拉松:重在完成,重在和觀眾打個招呼
樓市寒冬已過?現在是買樓好時機嗎?聽聽地產專家怎麼說
誰能成為下一個Labubu? 潮玩商家們為何集體聚焦盲盒發展?
香港立法會舉行首次會議 通過大埔火災後支援及重建工作議案
【你不知道的香港】高樓林立的香港正悄然進行一項“移山計劃”......
【通說環球】科幻照進現實?解碼中國“南天門計劃”
來論更 多評論更 多
論壇更 多閱讀排行
|












