綜述:中國前首富王健林“限高”風波背後的困局與自救香港中通社9月29日電(記者 葉永成)9月29日,萬達集團董事長、中國前首富王健林被法院限制高消費(簡稱“限高”)的措施已取消。中國執行信息公開網當天已經沒有王健林“限高”的信息。有法律界人士說,“限高”解除後並非一勞永逸,若相關主體再次無正當理由不履約,法院仍可重新採取“限高”措施,不因其曾解除而免責。
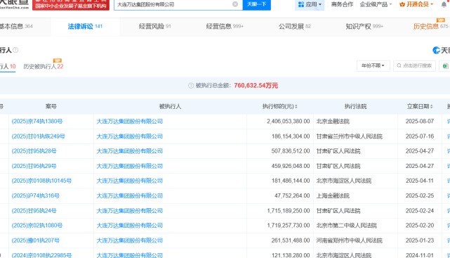
萬達集團董事長、中國前首富王健林(央視資料圖) “限高”是法院為督促被執行人履行金錢給付義務而採取的強制措施,有明確法律依據。北京金誠同達(濟南)律師事務所孔凡清表示,其目的並非懲罰,而是通過限制非生活或經營必需的高消費行為,施加合理壓力,促使其主動還債,同時防止資產不當流失,保護債權人權益。 “限高”聚焦“非必需”消費,具體包括八大類行為:禁止乘坐飛機、高速動車組全部座位;不得入住星級酒店、進出高爾夫球場等高消費場所;不得購買不動產、進行高檔裝修或租賃高檔寫字樓;不得旅遊度假、支付高額保費購買理財產品,以及其他超出基本生活與工作需要的消費。 被“限高”有兩個關鍵條件:一是成為被執行人,即法院判決需還債但未主動履行;二是未在執行通知指定期內履行義務。孔凡清強調,無論是否有能力償還,只要未按時履約,法院即可依申請或依職權決定“限高”,無需認定其“拒不執行”。 北京天馳君泰(濟南)律師事務所常芬介紹,“限高”可在三種情況下解除:一是全部履行義務,法院核實後立即解除;二是提供法院認可的有效擔保,或與債權人達成和解並獲書面同意;三是因就醫、奔喪、重要商務等特殊事由,可憑證明材料申請臨時解除。 9月26日,王健林被甘肅省蘭州市中級人民法院下達限制消費令,涉及金額1.86億元人民幣。相關話題被推上風口浪尖。然而僅僅3天後的29日清晨,中國執行信息公開網已撤下相關記錄,“限高”措施解除。 據第一財經等媒體援引萬達內部人士說法,此次“限高”源於下屬項目公司武漢楚河漢街文化旅遊投資有限公司的經濟糾紛,雙方此前已持續協商解決,或因“執行層面信息不對稱”導致臨時措施發布後迅速撤銷。 有分析指,盡管危機暫時解除,但背後的警鐘已敲響:企查查數據顯示,萬達集團目前累計被法院强制執行償債總額超52億元,僅今年8月以來,便因兩起案件被北京、上海金融法院強制執行28億元;天眼查更顯示,其旗下企業股權凍結信息多達47條,涵蓋萬達商管、文化產業等多個核心板塊。 這已不是王健林第一次面臨信用危機。自2023年珠海萬達商管上市對賭(估值調整機制)失敗以來,這位企業家便開啟了“賣賣賣”的斷臂求生模式。三年間,萬達累計出售超85座萬達廣場,僅今年5月便一次性打包48座予太盟、騰訊、京東聯合體;萬達酒店管理公司賣給了同程旅行,快錢金融股權易主中國儒意,海外資產如美國傳奇影業、英國聖汐遊艇也悉數清空。 據統計,2024至2025年,萬達處置資產規模逾900億元,昔日橫跨地產、文旅、影視、金融的龐大帝國,如今已精簡為“商管+文旅”兩條主線。 有評論指,這一切的背後,是對“高槓桿、高周轉”舊模式的徹底告別。目前,萬達所有公開債券均如期兌付,剩餘公開債務極少,未出現爛尾樓或欠薪事件——這份“體面”顯得尤為珍貴。(完) 【編輯:淩玉輝】
|










