騰訊京東等224億基金收購中國萬達48座廣場分享到:
香港中通社8月29日電 8月29日,集商業、文化、地產、金融四大板塊的中國民企萬達集團資產出售迎來新進展。據天眼查,近日成立的“蘇州寬遇股權投資基金合夥企業”(下稱“蘇州寬遇”)總出資額達224.29億元(人民幣,下同),由騰訊、京東等13方共同出資,標誌著此前披露的48座萬達廣場出售交易初步落地。
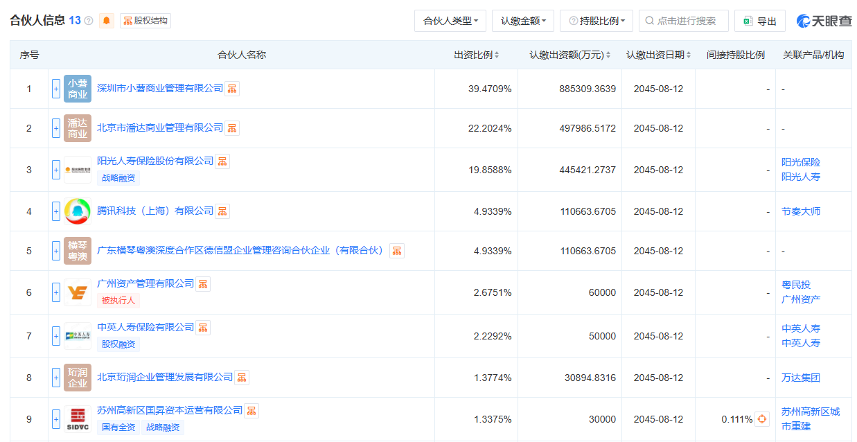
圖源:天眼查網頁截圖 綜合報道,交易涉及北京、廣州、成都等39個城市的重資產項目,預計今年下半年完成交割,萬達商管將繼續負責日常運營。交易獲監管當局無條件批准,凸顯萬達自救進展。 蘇州寬遇股東中,騰訊通過旗下公司持股約44.4%(出資約100億元),京東通過北京潘達持股22.2%(出資約50億元),陽光人壽持股19.9%,太盟集團持股約5%,其餘包括廣州及蘇州國資企業等。騰訊與京東均為萬達老合作夥伴,2018年曾聯合蘇寧、融創以340億元入股萬達商管。此次交易通過專項基金平台完成,延續了雙方合作模式。 此外,騰訊與萬達成立的“深圳智薯投資合夥企業”(註冊資本160.8億元)及京東與萬達成立的“北京泓睿潘達管理諮詢合夥企業”(註冊資本80.5億元)可能與此次交易相關,但萬達方面未予置評。據報,交易或為2018年Pre-IPO投資的退出機制重構。 萬達近年來持續“瘦身”以緩解債務壓力。2023年,太盟等投資人600億元入股珠海萬達商管,化解380億元債務,但股權重組因仲裁受阻。去年,萬達出售近26座萬達廣場。截至去年底,萬達擁有513座萬達廣場。 市場分析認為,此交易反映萬達加速輕資產轉型,聚焦商業管理服務。接盤方騰訊、京東等互聯網巨頭或通過數字化改造提升萬達廣場價值,但部分三四線城市項目租金回報率承壓,協同管理效率將是挑戰。(完) 【編輯:彭玉婷】
|
視頻更 多
28支龍獅隊齊集錦田爭奪“獅王”殊榮 龍獅隊員:十年後再來表演舞獅爭霸!
周潤發率“百歲”港星團跑馬拉松:重在完成,重在和觀眾打個招呼
樓市寒冬已過?現在是買樓好時機嗎?聽聽地產專家怎麼說
誰能成為下一個Labubu? 潮玩商家們為何集體聚焦盲盒發展?
香港立法會舉行首次會議 通過大埔火災後支援及重建工作議案
【你不知道的香港】高樓林立的香港正悄然進行一項“移山計劃”......
【通說環球】科幻照進現實?解碼中國“南天門計劃”
來論更 多評論更 多
論壇更 多閱讀排行
|











