首頁 -> 內地
大連萬達集團新增被強執超24億元 累計超76億分享到:
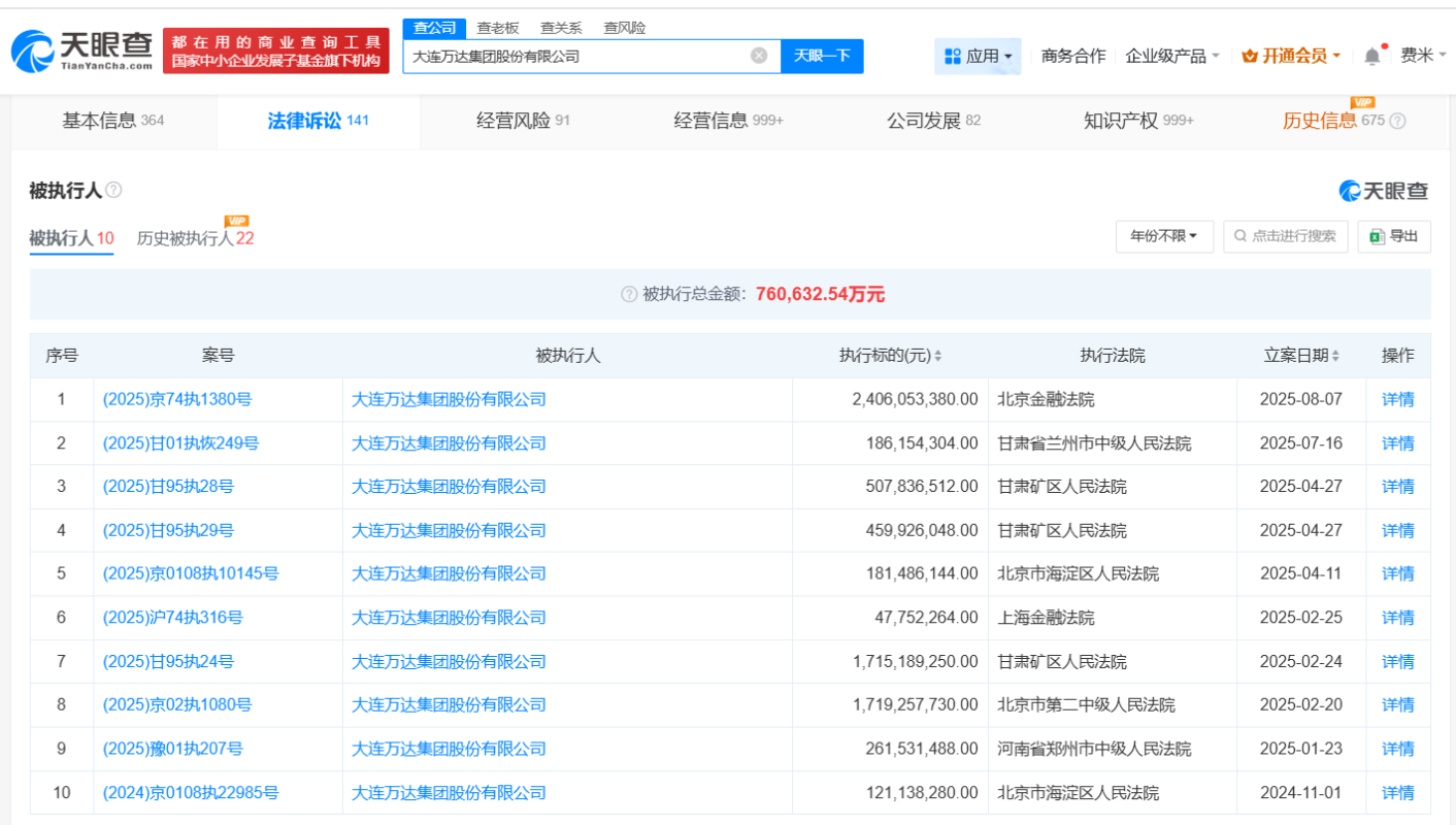
香港中通社8月11日電 8月11日,中國大連萬達集團股份有限公司新增一則被執行人信息,執行標的24億餘元人民幣,執行法院為北京金融法院。
天眼查截圖 天眼查風險信息顯示,大連萬達集團現存10條被執行人記錄,累計被執行金額已超76億元。此外,該公司還存在多條股權凍結信息。 資料顯示,大連萬達集團股份有限公司成立於1992年9月,法定代表人為王健林,註册資本10億人民幣,經營範圍包括商業地產投資及經營、酒店建設投資及經營、連鎖百貨投資及經營等,由大連合興投資有限公司、王健林共同持股。 為緩解債務壓力,萬達集團2025年已先後出售多個萬達廣場。據不完全統計,2023年至2024年,王健林已陸續出售超過30座萬達廣場。今年以來,這一出售節奏加快,僅年初就有7座萬達廣場被出售。(完) 【編輯:彭玉婷】
|
視頻更 多
通觀兩會|信息量很大!政府工作報告中連續十年提到了它
【通說環球】霍爾木茲海峽,為何牽動全球命脈?
(全國兩會)如何解讀2026年政府工作報告的涉台內容?
北京行程滿滿 李家超回應中通社再提“主動對接”
通觀兩會|中國2023年以來首次下調經濟增速目標透露什麼訊息?
(全國兩會)對於國家的發展、香港的發展 代表委員有話說
(全國兩會)兩會開幕前北京降雪 人大代表:預示“十五五”開局好兆頭
來論更 多評論更 多
論壇更 多閱讀排行
|










